《计算机网络》06. HTTP 补充 · HTTPS · SSL/TLS

@TOC


网络协议从入门到底层原理。

1:HTTP/1.1 协议的不足

  • 同一时间,一个连接只能对应一个请求
    针对同一个域名,大多数浏览器允许同时最多 6 个并发连接

  • 只允许客户端主动发起请求
    一个请求只能对应一个响应

  • 同一个会话的多次请求中,头信息会被重复传输
    通常会给每个传输增加 500~800 字节的开销
    如果使用 Cookie,增加的开销有时会达到上千字节

2:HTTP/2

HTTP/2,于 2015 年 5 月以 RFC 7540 正式发表

  • 根据 W3Techs 的数据,截至 2019 年 6 月,全球有 36.5% 的网站支持了 HTTP/2

下列两个网站可以进行 HTTP/1.1 和 HTTP/2 速度对比

HTTP/2 在底层传输做了很多的改进和优化,但在语意上完全与 HTTP/1.1 兼容

  • 比如请求方法(如 GET、POST)、Status Code、各种 Headers 等都没有改变
  • 因此,要想升级到 HTTP/2,开发者不需要修改任何代码,只需要升级服务器配置、升级浏览器

2.1:HTTP/2 特性

2.1.1:二进制格式

HTTP/2 采用二进制格式传输数据,而非 HTTP/1.1 的文本格式。

二进制格式在协议的解析和优化扩展上带来更多的优势和可能。

在这里插入图片描述

一些基本概念

  • 数据流:已建立的连接内的双向字节流,可以承载一条或多条消息。
    所有通信都在一个 TCP 连接上完成,此连接可以承载任意数量的双向数据流。

  • 消息:与逻辑 HTTP 请求或响应消息对应,由一系列帧组成。

  • :HTTP/2 通信的最小单位,每个帧都包含帧头(会标识出当前帧所属的数据流)
    来自不同数据流的帧可以交错发送,然后再根据每个帧头的数据流标识符重新组装

在这里插入图片描述

在这里插入图片描述

2.1.2:多路复用

多路复用(Multiplexing),客户端和服务器可以将 HTTP 消息分解为互不依赖的帧,然后交错发送,最后再在另一端把它们重新组装起来

在这里插入图片描述

  • 并行交错地发送多个请求,请求之间互不影响
  • 并行交错地发送多个响应,响应之间互不干扰
  • 使用一个连接并行发送多个请求和响应

在这里插入图片描述

不必再为绕过 HTTP/1.1 限制而做很多工作。比如精灵图(image sprites)、合并 CSS/JS、内嵌 CSS/JS/Base64 图片、域名分片等。

精灵图(image sprites),也叫做 CSS Sprites,将多张小图合并成一张大图。最后通过 CSS 结合小图的位置、尺寸进行精准定位。

在这里插入图片描述

2.1.3:优先级

  • HTTP/2 标准允许每个数据流都有一个关联的权重和依赖关系
    可以向每个数据流分配一个介于 1 至 256 之间的整数
    每个数据流与其他数据流之间可以存在显式依赖关系

  • 客户端可以构建和传递 “ 优先级树 ”,表明它倾向于如何接收响应

  • 服务器可以使用此信息通过控制 CPU、内存和其他资源的分配设定数据流处理的优先级
    在资源数据可用之后,确保将高优先级响应以最优方式传输至客户端

示例:

在这里插入图片描述

2.1.4:头部压缩

HTTP/2 使用 HPACK 压缩请求头和响应头,可以极大减少头部开销,进而提高性能。

早期版本的 HTTP/2 和 SPDY 使用 zlib 压缩请求头和响应头,可以将所传输头数据的大小减小 85% ~ 88%。
但在 2012 年夏天被攻击,导致会话劫持。
后被更安全的 HPACK 取代。

在这里插入图片描述

在这里插入图片描述

2.1.5:服务器推送

服务器推送(Server Push):服务器可以对一个客户端请求发送多个响应。

除了对最初请求的响应外,服务器还可以向客户端推送额外资源,而无需客户端额外明确地请求。

在这里插入图片描述

2.2:HTTP/2 的问题

2.2.1:队头阻塞

队头阻塞(head of line blocking)。

在这里插入图片描述

2.2.2:握手延迟

在这里插入图片描述

RTT(Round Trip Time):往返时延,可以简单理解为通信一来一回的时间。

在这里插入图片描述

3:HTTP/3

Google 觉得 HTTP/2 仍然不够快,于是就有了 HTTP/3。

HTTP/3 由 Google 开发,弃用 TCP 协议,改为使用基于 UDP 协议的 QUIC 协议实现。

  • QUIC(Quick UDP Internet Connections,快速 UDP 网络连接),由 Google 在 2013 年实现
  • 于 2018 年从 HTTP-over-QUIC 改为 HTTP/3

在这里插入图片描述

思考

HTTP/3 基于 UDP,如何保证可靠传输

  • 由 QUIC 来保证

为何 Google 不开发一个新的不同于 TCP、UDP 的传输层协议

  • 目前世界上的网络设备基本只认TCP、UDP
  • 如果要修改传输层,意味着操作系统的内核也要修改
  • 另外,由 IETF 标准化的许多 TCP 新特性都因缺乏广泛支持而没有得到广泛的部署或使用,因此,要想开发并应用一个新的传输层协议,是极其困难的一件事情

3.1:HTTP/3 特性

3.1.1:连接迁移

TCP 基于 4 要素:源 IP、源端口、目标 IP、目标端口。

  • 切换网络时至少会有一个要素发生变化,导致连接发生变化
  • 当连接发生变化时,如果还使用原来的 TCP 连接,则会导致连接失败,就得等原来的连接超时后重新建立连接
  • 所以有时发现切换到一个新网络时,即使新网络状况良好,但内容还是需要加载很久
  • 即使当检测到网络变化时立刻建立新的 TCP 连接,还是需要几百毫秒的时间

QUIC 的连接不受 4 要素的影响,当 4 要素发生变化时,原连接依然维持。

  • QUIC 连接不以 4 要素作为标识,而是使用一组 Connection ID(连接ID)来标识一个连接
  • 即使 IP 或者端口发生变化,只要 Connection ID 没有变化,那么连接依然可以维持

例如:
当设备连接到 Wi-Fi 时,将进行中的下载从蜂窝网络连接转移到更快速的 Wi-Fi 连接。
当 Wi-Fi 连接不再可用时,将连接转移到蜂窝网络连接。

3.1.2:向前纠错

目前还没有成为标准,以后是否会成为标准也不确定。

HTTP/3 的向前纠错,丢包以后可以根据其他包推测出这个包的数据(只适合丢失少量数据)。

如果是之前的基于 TPC 协议,丢包以后会重传。

3.2:HTTP/3 的问题

操作系统内核、CPU 负载

  • Linux 内核的 UDP 部分没有像 TCP 那样的优化,因为传统上没有使用 UDP 进行如此高速的信息传输
  • TCP 和 TLS 有硬件加速,而这对于 UDP 很罕见,对于 QUIC 则基本不存在

据 Google 和 Facebook 称,与基于 TLS 的 HTTP/2 相比,它们大规模部署的 QUIC 需要近 2 倍的 CPU 使用量

随着时间的推移,相信这个问题会逐步得到改善

4:HTTP 协议的安全问题

HTTP 协议默认是采取明文传输的,因此会有很大的安全隐患。

常见的提高安全性的方法是:对通信内容进行加密后,再进行传输。

常见的加密方式:

  • 不可逆
    单向散列函数:MD5、SHA 等
  • 可逆
    对称加密:DES、3DES、AES 等
    非对称加密:RSA 等
  • 其它
    混合密码系统
    数字签名
    证书

encrypt:加密
decrypt:解密
plaintext:明文
ciphertext:密文

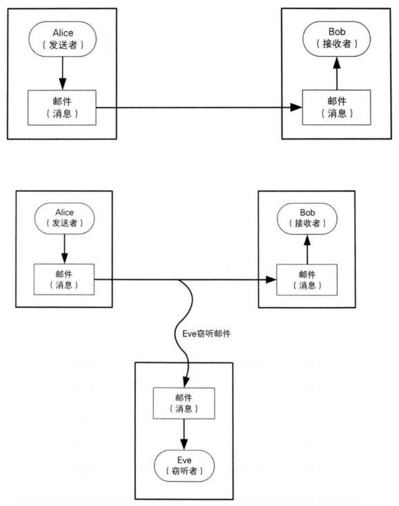
为了便于学习,设计 4 个虚拟人物:

  • Alice、Bob:互相通信
  • Eve:窃听者
  • Mallory:主动攻击者

在这里插入图片描述

如何防止被窃听:

在这里插入图片描述

4.1:SPDY

SPDY(speedy 的缩写),是基于 TCP 的应用层协议,它强制要求使用 SSL/TLS。

在这里插入图片描述

2009 年 11 月,Google 宣布将 SPDY 作为提高网络速度的内部项目。

SPDY 与 HTTP 的关系:

  • SPDY 并不用于取代 HTTP,它只是修改了 HTTP 请求与响应的传输方式
  • 只需增加一个 SPDY 层,现有的所有服务端应用均不用做任何修改
  • SPDY 可以看做是 HTTP/2 的前身

5:HTTPS

HTTPS(HyperText Transfer Protocol Secure,超文本传输安全协议)

  • 也称为 HTTP over TLS、HTTP over SSL、HTTP Secure
  • 由网景公司于 1994 年首次提出
  • HTTPS 的默认端口号是 443(HTTP 是 80)

现在在浏览器上输入 http://www.baidu.com
会自动重定向到 https://www.baidu.com

5.1:HTTPS 的成本

  • 证书的费用
  • 加解密计算
  • 降低了访问速度

有些企业的做法是:包含敏感数据的请求才使用 HTTPS,其他保持使用 HTTP。

5.2:HTTPS 通信过程

总的可以分为 3 大阶段:

在这里插入图片描述

6:SSL/TLS

SSL(Secure Sockets Layer,安全套接层),是 TLS 的前身。

TLS(Transport Layer Security,传输层安全性协议)。

HTTPS 是在 HTTP 的基础上使用 SSL/TLS 来加密报文,对窃听和中间人攻击提供合理的防护。

在这里插入图片描述

SSL/TLS 也可以用在其他协议上,比如:

  • FTP -> FTPS
  • SMTP -> SMTPS

SSL/TLS 历史版本信息

  • SSL 1.0:因存在严重的安全漏洞,从未公开过
  • SSL 2.0:1995 年,已于 2011 年弃用(RFC 6176
  • SSL 3.0:1996 年,已于 2015 年弃用(RFC 7568
  • TLS 1.0:1999 年(RFC 2246
  • TLS 1.1:2006 年(RFC 4346
  • TLS 1.2:2008 年(RFC 5246
  • TLS 1.3:2018 年(RFC 8446

6.1:SSL/TLS 工作在哪一层

在这里插入图片描述

6.2:TLS 1.2 的连接

TLS 1.2 的连接(ECDHE 密钥交换算法)大概有 10 大步骤。

下图中省略了中间产生的一些 ACK 确认。

在这里插入图片描述

6.2.1:Client Hello

  • TLS 的版本号
  • 支持的加密组件(Cipher Suite)列表
    加密组件是指所使用的加密算法及密钥长度等
  • 一个随机数(Client Random)

在这里插入图片描述

6.2.2:Server Hello

  • TLS 的版本号
  • 选择的加密组件
    是从接收到的客户端加密组件列表中挑选出来的
  • 一个随机数(Server Random)

在这里插入图片描述

6.2.3:Certificate

  • 服务器的公钥证书(被 CA 签名过的)

在这里插入图片描述

6.2.4:Server Key Exchange

  • 用以实现 ECDHE 算法的其中一个参数(Server Params)
    ECDHE 是一种密钥交换算法
    为了防止伪造,Server Params 经过了服务器私钥签名

在这里插入图片描述

6.2.5:Server Hello Done

  • 告知客户端:协商部分结束

在这里插入图片描述

到目前为止,客户端和服务器之间通过明文共享了:

  • Client Random
  • Server Random
  • Server Params

而且,客户端也已经拿到了服务器的公钥证书,接下来,客户端会验证证书的真实有效性。

6.2.6:Client Key Exchange

  • 用以实现 ECDHE 算法的另一个参数(Client Params)

在这里插入图片描述

目前为止,客户端和服务器都拥有了 ECDHE 算法需要的 2 个参数:

  • Server Params
  • Client Params

客户端、服务器都可以使用 ECDHE 算法根据 Server Params、Client Params 计算出一个新的随机密钥串:Pre-master secret。

然后结合 Client Random、Server Random、Pre-master secret 生成一个主密钥。

最后利用主密钥衍生出其他密钥:客户端发送用的会话密钥、服务器发送用的会话密钥等。

6.2.7:Change Cipher Spec

  • 告知服务器:之后的通信会采用计算出来的会话密钥进行加密

在这里插入图片描述

6.2.8:Finished(Client)

  • 包含连接至今全部报文的整体校验值(摘要),加密之后发送给服务器
  • 这次握手协商是否成功,要以服务器是否能够正确解密该报文作为判定标准

在这里插入图片描述

6.2.9:Change Cipher Spec

在这里插入图片描述

6.2.10:Finished(Server)

  • 到此为止,客户端服务器都验证加密解密没问题,握手正式结束
  • 后面开始传输加密的 HTTP 请求和响应

在这里插入图片描述

6.3:OpenSSL

OpenSSL 是 SSL/TLS 协议的开源实现,始于 1998 年,支持 Windows、Mac、Linux 等平台。

官网:https://www.openssl.org/

Linux、Mac 一般自带 OpenSSL。
Windows 下载安装 OpenSSL:https://www.openssl.org/source/

常用命令

生成私钥
openssl genrsa -out my.key

生成公钥
openssl rsa -in my.key -pubout -out my.pem

可以使用 OpenSSL 构建一套属于自己的 CA,自己给自己颁发证书,称为 “ 自签名证书 ”。

除此以外,一个生成免费证书的网站:https://freessl.org


人生如逆旅,我亦是行人。

——《临江仙 · 送钱穆父》(宋)苏轼